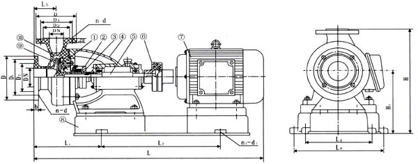
S型玻璃鋼離心泵結構圖及安裝尺寸
發布時間:2012-12-28 13:14:49 來源:海坦泵業 點擊次數:3545
S型玻璃鋼離心泵結構圖及安裝尺寸
S25×25-12.5至S50×40-20外形尺寸
|
1
|
泵蓋
|
![]() |
|
2
|
聯接架
|
|
|
3
|
機械密封
|
|
|
4
|
軸套
|
|
|
5
|
軸
|
|
|
6
|
電機
|
|
|
7
|
底座
|
|
|
8
|
泵體
|
|
|
9
|
葉輪
|
|
|
10
|
密封壓蓋
|
|
型 號
|
吸 入 口
|
排 出 口
|
L
|
1
|
L2
|
L3
|
L4
|
L5
|
L6
|
H
|
Hl
|
n2
|
n1
|
d1
|
||||||||||||
|
DN
|
D
|
D 1
|
D 2
|
b
|
n
|
d
|
DN
|
D
|
D1
|
D2
|
b
|
n
|
d
|
|||||||||||||
|
S25×25-12.5
|
25
|
115
|
85
|
65
|
16
|
4
|
14
|
25
|
115
|
85
|
65
|
16
|
4
|
14
|
437
|
180
|
180
|
140
|
150
|
244
|
60
|
200
|
94
|
23
|
4
|
14
|
|
S40×32-20
|
40
|
145
|
110
|
88
|
18
|
4
|
18
|
32
|
135
|
100
|
78
|
18
|
4
|
18
|
458
|
192
|
200
|
150
|
150
|
252
|
82
|
258
|
120
|
40
|
4
|
14
|
|
S40×32-32
|
40
|
145
|
110
|
88
|
18
|
4
|
18
|
32
|
138
|
100
|
78
|
18
|
4
|
18
|
540
|
230
|
240
|
160
|
155
|
262
|
85
|
315
|
145
|
55
|
4
|
18
|
|
S50×40-20
|
50
|
160
|
125
|
100
|
20
|
4
|
18
|
40
|
145
|
110
|
88
|
19
|
4
|
19
|
535
|
226
|
240
|
160
|
155
|
262
|
100
|
295
|
145
|
55
|
4
|
18
|
S50×32-32至S100×80-50外形尺寸
|
1
|
泵蓋
|
![]() |
|
2
|
機械密封
|
|
|
3
|
軸套
|
|
|
4
|
聯結架
|
|
|
5
|
軸
|
|
|
6
|
聯軸器
|
|
|
7
|
電機
|
|
|
8
|
底座
|
|
|
9
|
葉輪
|
|
|
10
|
泵體
|
|
型號
|
吸 入 口
|
排 出 口
|
L
|
L1
|
L2
|
L3
|
L4
|
L5
|
H
|
H1
|
n1
|
d1
|
電機功率KW
|
||||||||||||
|
DN
|
D
|
D1
|
D2
|
b
|
n
|
d
|
DN
|
D
|
Dl
|
D2
|
b
|
n
|
d
|
||||||||||||
|
S50×32-32
|
50
|
160
|
125
|
100
|
18
|
4
|
18
|
32
|
135
|
100
|
75
|
18
|
4
|
18
|
945
|
319
|
420
|
310
|
370
|
80
|
435
|
250
|
4
|
24
|
4
|
|
S65×50-20
|
65
|
180
|
145
|
120
|
21.5
|
4
|
18
|
50
|
160
|
125
|
100
|
21.5
|
4
|
18
|
830
|
250
|
420
|
250
|
320
|
90
|
360
|
210
|
4
|
18.5
|
3
|
|
S65×50-32
|
65
|
185
|
1 45
|
122
|
22
|
4
|
18
|
50
|
165
|
125
|
102
|
22
|
4
|
18
|
1020
|
345
|
420
|
310
|
370
|
90
|
430
|
250
|
4
|
24
|
5.5
|
|
S80×65-32
|
80
|
195
|
160
|
135
|
23.5
|
4
|
18
|
65
|
180
|
145
|
120
|
21.5
|
4
|
18
|
1022
|
370
|
520
|
310
|
410
|
100
|
450
|
250
|
4
|
24
|
7.5
|
|
S80×65-32
|
80
|
195
|
160
|
135
|
23.5
|
4
|
18
|
65
|
180
|
145
|
12C
|
21.5
|
4
|
18
|
1150
|
370
|
520
|
310
|
410
|
100
|
480
|
250
|
4
|
24
|
1l
|
|
S100×80-50
|
1OO
|
215
|
180
|
158
|
24
|
8
|
18
|
80
|
195
|
160
|
138
|
23.5
|
4
|
18
|
1353
|
428
|
635
|
370
|
485
|
110
|
530
|
280
|
4
|
24
|
Y180L 22
|
|
1462
|
575
|
300
|
Y200L 30
|
||||||||||||||||||||||
下一個:常用機泵按工作原理分為幾大類?


